• 会社概要
  • お問い合わせ
  • 文字サイズ
  • 小
  • 中
  • 大
在庫表

サファイア製品 メス刃先

サファイア製品 メス刃先

サファイア製品 メス刃先

弊社のサファイアメス刃先は、外科手術用のメスの刃先として、また、その他科学研究実験用器具の部品として応用できます。
メス刃先の色は無色とブルー

生産可能数量:5000個/月

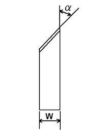
α(刃先角度) 20° 30° 45° 65°
W 1.5mm
刃先鋭さ 400~500Å
厚み 0.2~0.4 mm

在庫有り!(ヘッド付き)

α 45°
W 1.5mm
刃先鋭さ 400~500Å
刃長さ 5mm
ヘッドを含む長さ 26mm